
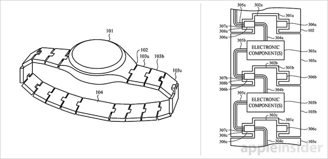
The patent describes a band made of a series of modular links containing electronic components, which are attached to each other using a flexible conductive material.
A number of possible uses are mentioned for the linked design, including batteries, speakers, kinetic power generators, haptic feedback devices, and more. Biometric sensors are also covered, such as blood pressure monitors and sweat sensors.
The modular accessory links are arranged serially across a power circuit and communications bus, with module control achieved by way of a unique identifier assigned to each link. In one example, an audio signal is sent from the timepiece through the chain of linked modules and activates only those modules assigned with a particular identifier… More at MacRumors.
An interesting idea, but I believe that making smart watches simpler is a better move that adding more complexity.
Categories: Wareable
Leave a Reply